受検者の並べ替え
『ソート』で並べ替える
画面右上の『ソート』のプルダウンを切り替えることで、受検者を並べ替えられます。
カスタム設定>ソートに設定されている項目が利用できます。
SPI3の結果で並べ替える
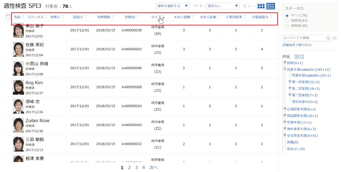
ラインビューで表示されるSPI3の項目をクリックすることでソート可能です。
共有リンク
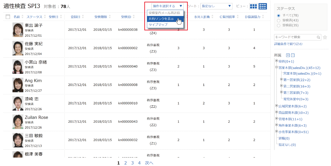
受検結果一覧画面上部の『操作を選択する▼』プルダウンから、『共有リンクを表示』を選択すると表示されている受検結果一覧画面のURLを他者に共有できます。
受検者の絞り込みと併用すると便利です。
例)
「創造重視タイプ」の受検者の一覧画面URL
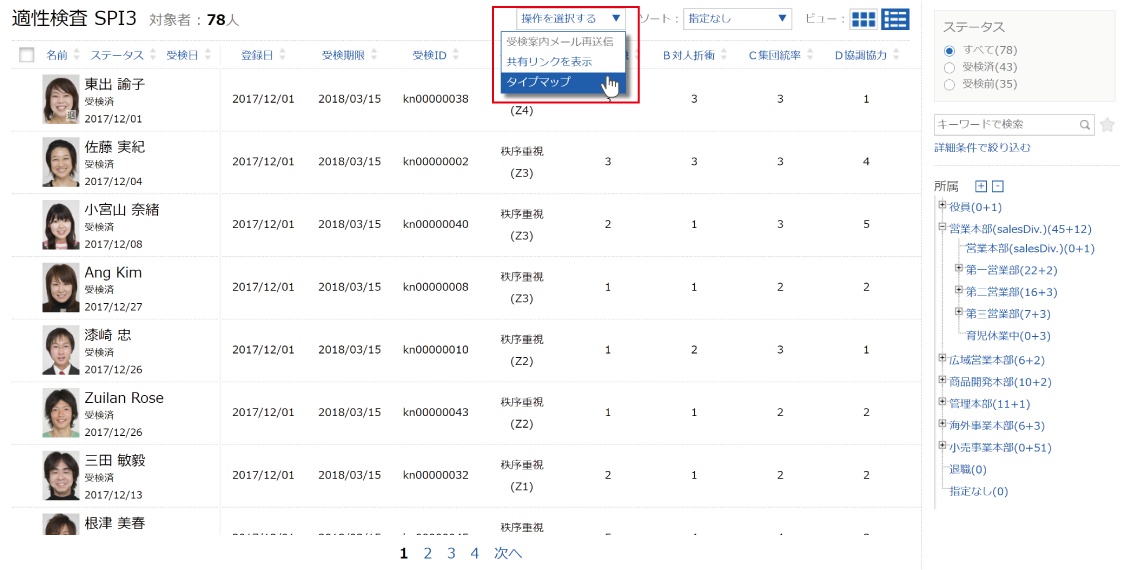
タイプマップ
受験結果一覧画面上部の『操作を選択する▼』プルダウンから、『タイプマップ』を選択するとタイプマップ画面が開かれます。